Diam-diam Suzuki Siapkan Motor Listrik, Ini Bocoran Modelnya
·waktu baca 2 menit

Motor listrik bakal jadi produk dari pabrikan untuk bersaing di industri otomotif. Suzuki salah satunya, mereka diam-diam tengah menyiapkan model motor bebas polusi.
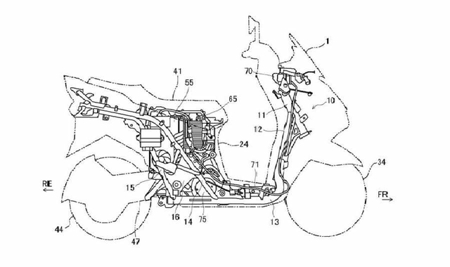
Dikutip Visordown, baru-baru ini bocor sebuah purwarupa atau paten dari motor matik listrik Suzuki. Dari tampilan eksterior terlihat seperti motor matik maxi, namun tata letak drivetrain-nya ditempatkan pada bagian atas kendaraan dengan bantuan controller, baterai, dan transformator.
Motor atau dinamo listriknya tidak menggunakan model hub (tromol) melainkan menggunakan penggerak rantai ke roda belakang. Ini layaknya motor gede bertenaga listrik seperti produk dari Harley-Davidson lewat produknya Live-Wire.
Memang secara komponen, motor listrik Harley Davidson tidak menggunakan rantai, namun menggunakan belt. Secara sistem kerja, keduanya bisa dibilang mirip.
Dalam paten tersebut, dijelaskan juga jika motor listrik dari Suzuki nanti akan menggunakan sistem pendingin udara melalui saluran masuk dan kipas yang dipasang dalam motor.
Hingga saat ini, Suzuki belum memberikan informasi detail tentang keunggulan motor listrik barunya secara resmi. Pun informasi kapan mereka akan benar-benar meluncurkan motor listrik.
Seperti diketahui muncul atau sudah didaftarkannya hak paten akan sebuah produk bukan berarti dalam waktu dekat mereka akan menetaskan produk tersebut. Ini adalah cara untuk melindungi karya atau terobosan dari perusahaan.
Momen tepat luncurkan motor listrik
Cepat atau lambat Suzuki pasti akan serius dengan produk motor listrik. Ini berdasarkan pernyataan dari Suzuki’s VP of Marketing and Sales untuk India Devashish Handa.
Handa mengatakan Suzuki akan terjun ke motor listrik ketika konsumen sudah benar-benar siap. Dalam artian siap soal infrastruktur dan segala ekosistemnya.
"Kami mengawasi ruang dengan sangat hati-hati, tetapi perjalanan kendaraan roda dua listrik belum konsisten. Biaya akuisisi dibandingkan dengan kendaraan ICE terus menjadi perhatian. Ketika dan kapan pembelinya sudah siap," kata Handa, dikutip RideApart.
Dengan kata lain, pabrikan besar asal Jepang ini hanya tinggal menunggu momen yang tepat meluncurkan produk berbasis listrik. Suzuki sudah siap, sudah punya, tapi belum dengan konsumennya.
